新华社体育部评出2025年中国十佳运动员如下(按姓名首字笔画排序):1、石宇奇(男,29岁,羽毛球)石宇奇在羽毛球世锦赛上为中国队时隔10年再夺男单冠...
2025-12-28 0
王健林名下资产再遭抛售!
12月26日,天某查信息显示,大连万达集团股份有限公司持有的上海万达小额贷款有限公司70%股权被法院预告拍卖,评估价约为7.31亿元,起拍价定为约5.12亿元。此次拍卖由上海市第二中级人民法院发起,拍卖时间为2026年1月29日至2月1日。
公开信息显示,此次被拍卖的上海万达小额贷款有限公司成立于2016年,是万达集团旗下金融板块的组成部分,主营发放贷款以及相关咨询业务。其主要股东为大连万达集团、上海万达网络金融服务有限公司、大连万达商业管理集团,分别持股80%、12.86%、7.14%。王建林作为实际控制人,持股占比达89.99%。
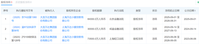
目前该公司尚涉及3条股权冻结信息。早在2023年6月,上海市虹口区人民法院便冻结了其数额为7.35亿元的股权。最近一次则发生在2025年9月,北京金融法院再次冻结了万达集团持有的该公司股权,冻结数额高达8.4亿元。
近年来,王健林的资产抛售“大戏”不断上演。
2025年年初,坤华股权投资连续五次出手,先后收购了宣城、铜陵、安阳、四平、扬州5座万达广场。4月,王健林将万达酒店管理公司100%股权卖给同程旅行。今年5月,王健林更是一次性将48家万达广场“打包”出售。据不完全统计,万达集团这几年已累计出售超过80座万达广场。7月,又以2.4亿元将快钱金融30%股权卖给中国儒意旗下全资附属公司。近日,快钱金融发生了工商变更,万达旗下的上海万达网络金融服务有限公司已退出股东行列。
除了加速出售旗下资产以获取现金流外,王健林还出质万达集团股权。天眼查司法案件显示,今年1月,王健林新增1条股权出质信息,出质股权标的企业为大连万达集团股份有限公司,质权人为珠海万赢企业管理有限公司,出质股权数额为240万股。
天某查信息显示,大连万达集团股份有限公司成立于1992年9月,注册资本为10亿元,王健林担任法定代表人、董事长,受益股份达98%。截至目前,万达集团共有12条被执行人信息,累计被执行金额已超过81亿元。此外,该公司还存在50条股权冻结信息。
来源:中国基金报
编辑:刘英銮
一审:马慧丽 二审:孙瑞永 三审:管延会
相关文章
新华社体育部评出2025年中国十佳运动员如下(按姓名首字笔画排序):1、石宇奇(男,29岁,羽毛球)石宇奇在羽毛球世锦赛上为中国队时隔10年再夺男单冠...
2025-12-28 0
新华社北京12月27日电新华社体育部评出2025年中国十佳运动员如下(按姓名首字笔画排序):1、石宇奇(男,29岁,羽毛球)石宇奇在羽毛球世锦赛上为中...
2025-12-28 0
美国一位海军少将公开表示,如果台湾民众自己愿意和大陆统一,而且过程没有暴力,美国不会阻拦这话放在几年前根本不可能从美国军方嘴里说出来2月4日的一场国防...
2025-12-28 0
12月26日,据广东交警:凌晨高速,一新能源车辆因电量耗尽,驾驶人和乘客在高速公路慢车道停下推车,结果被大货车追尾碰撞,导致2人经抢救无效死亡!据介绍...
2025-12-28 0
美方一边继续推动对台军售,一边在中方采取必要反制措施后,只用“强烈反对”四个字草草回应,却没有任何实质动作,这种表态上的强硬与行动上的克制,恰恰暴露了...
2025-12-28 0
12月28日,国家安全部发文《看似“宝藏网友”,实则“窃密黑手”》,详情如下:在数字空间的深处,与你彻夜畅谈的“宝藏网友”,或许正在编织一张温柔的陷阱...
2025-12-28 0
王健林名下资产再遭抛售!12月26日,天某查信息显示,大连万达集团股份有限公司持有的上海万达小额贷款有限公司70%股权被法院预告拍卖,评估价约为7.3...
2025-12-28 1
天还没亮透,叙利亚那边就听见震天响,原来是美国人动手了。这事儿闹得不小,一下把所有人的眼光都吸引过去了。美国人说,这是为自己死掉的人报仇。可那边也有人...
2025-12-28 1
发表评论