2025年12月中旬,日本首相高市早苗在参议院会议上一改此前强硬姿态,表态希望台海问题通过和平对话解决,这番迟来的缓和言论,距离其发表涉台错误言论已过...
2025-12-25 0
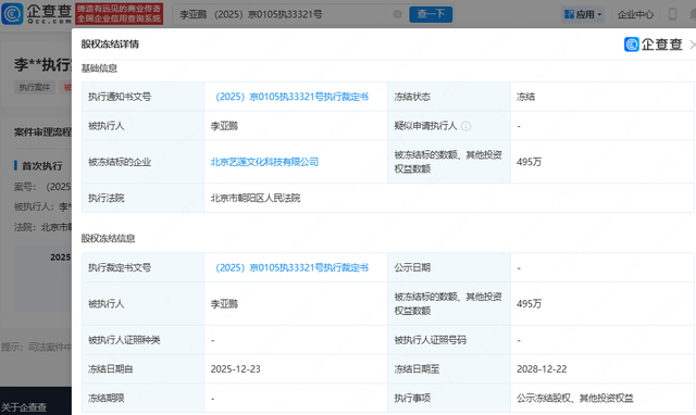
企查查APP显示,近日,李亚鹏新增一条股权冻结信息,冻结股权标的企业为北京艺莲文化科技有限公司,冻结股权数额约为495万元。此外,李亚鹏关联的北京市朝阳区嫣然天使儿童医院新增被执行人信息,执行标的约1381万元,执行法院为北京市朝阳区人民法院。
企查查信息显示,李亚鹏目前共关联丽江雪山投资有限责任公司、北京艺莲文化科技有限公司、北京艺莲文化艺术中心(有限合伙)等9家企业,涵盖投资、文化、医疗等多个领域,其中7家存在明确法律风险。
值得注意的是,其持股约27.84%的丽江雪山投资有限责任公司为债务重灾区,累计被执行金额已达4.6亿元,目前正处于破产审查阶段;而此次涉及执行款项的嫣然天使儿童医院,此前已先后两次被执行,分别为2023年的100万元和2024年的34.7万元。
相关文章
2025年12月中旬,日本首相高市早苗在参议院会议上一改此前强硬姿态,表态希望台海问题通过和平对话解决,这番迟来的缓和言论,距离其发表涉台错误言论已过...
2025-12-25 0
企查查APP显示,近日,李亚鹏新增一条股权冻结信息,冻结股权标的企业为北京艺莲文化科技有限公司,冻结股权数额约为495万元。此外,李亚鹏关联的北京市朝...
2025-12-25 1
本文仅在今日头条发布,谢绝转载碟形车体、四履带设计,这辆坦克堪称从科幻小说中走出的“钢铁怪兽”。作为专为核大战而生的超级重型坦克,它肩负特殊使命——不...
2025-12-25 1
交通事故之后做伤残鉴定,这5样材料缺一不可!少一样可能白跑一趟做伤残鉴定,可别175空着手就去了。材料没9650带齐,不仅白跑一趟,还会耽误9557理...
2025-12-25 1
图一小时候曲沃烟和汾河在山西常见,都是很便宜的牌子。山西的市场当时外地的牌子多,河南,云南,陕西,贵州的老牌子霸占了市场。河南的黄金叶,芒果,金钟,福...
2025-12-25 1
天眼查天眼风险信息显示,近日,大连市中级人民法院发布拍卖公告,拍卖标的为北京普思投资有限公司名下麦戟文化传播有限公司8%股权。公告显示,该部分股权价值...
2025-12-25 1
界面新闻记者 | 实习记者 张钊涵界面新闻编辑 | 姜妍我们将以怎样的方式离去?之后是被记住亦或遗忘?电影《寻梦环游记》中曾经说,真正的死亡是世界上再...
2025-12-25 1
发表评论