(星悦云南麻将软挂神器 手机打牌辅助是一款可以让一直输的玩家,快速成为一个“必胜”的AI辅助神器,有需要的用户可通过正规渠道获取使用。...
2025-12-28 0
王健林名下资产再遭抛售!
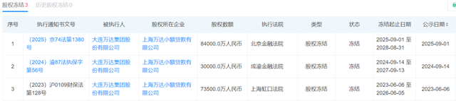
12月26日,天某查信息显示,大连万达集团股份有限公司持有的上海万达小额贷款有限公司70%股权被法院预告拍卖,评估价约为7.31亿元,起拍价定为约5.12亿元。此次拍卖由上海市第二中级人民法院发起,拍卖时间为2026年1月29日至2月1日。
公开信息显示,此次被拍卖的上海万达小额贷款有限公司成立于2016年,是万达集团旗下金融板块的组成部分,主营发放贷款以及相关咨询业务。其主要股东为大连万达集团、上海万达网络金融服务有限公司、大连万达商业管理集团,分别持股80%、12.86%、7.14%。王建林作为实际控制人,持股占比达89.99%。
目前该公司尚涉及3条股权冻结信息。早在2023年6月,上海市虹口区人民法院便冻结了其数额为7.35亿元的股权。最近一次则发生在2025年9月,北京金融法院再次冻结了万达集团持有的该公司股权,冻结数额高达8.4亿元。
近年来,王健林的资产抛售“大戏”不断上演。
2025年年初,坤华股权投资连续五次出手,先后收购了宣城、铜陵、安阳、四平、扬州5座万达广场。4月,王健林将万达酒店管理公司100%股权卖给同程旅行。今年5月,王健林更是一次性将48家万达广场“打包”出售。据不完全统计,万达集团这几年已累计出售超过80座万达广场。7月,又以2.4亿元将快钱金融30%股权卖给中国儒意旗下全资附属公司。近日,快钱金融发生了工商变更,万达旗下的上海万达网络金融服务有限公司已退出股东行列。
除了加速出售旗下资产以获取现金流外,王健林还出质万达集团股权。天眼查司法案件显示,今年1月,王健林新增1条股权出质信息,出质股权标的企业为大连万达集团股份有限公司,质权人为珠海万赢企业管理有限公司,出质股权数额为240万股。
天某查信息显示,大连万达集团股份有限公司成立于1992年9月,注册资本为10亿元,王健林担任法定代表人、董事长,受益股份达98%。截至目前,万达集团共有12条被执行人信息,累计被执行金额已超过81亿元。此外,该公司还存在50条股权冻结信息。
来源:大众新闻-黄三角早报、中国基金报 编辑:小W
相关文章
(星悦云南麻将软挂神器 手机打牌辅助是一款可以让一直输的玩家,快速成为一个“必胜”的AI辅助神器,有需要的用户可通过正规渠道获取使用。...
2025-12-28 0
(微信挖坑技巧讲解 手机打牌辅助是一款可以让一直输的玩家,快速成为一个“必胜”的AI辅助神器,有需要的用户可通过正规渠道获取使用。...
2025-12-28 0
哈喽,大家好,杆哥这篇评论,主要来分析阿巴边境战火再起,百年边界埋下祸根,背后搅局者浮出水面阿富汗地处中亚势力交汇核心,先后成为英、苏、美三国的博弈战...
2025-12-28 0
对于灵活就业者,既选择缴居民医保也可以选择缴职工医保,但哪个更合适,性价比更高呢?这需要根据自身的具体情况作出判断,但要考虑以下因素: 1、缴费额。灵...
2025-12-28 0
12月27日,陕西省西安市雁塔区紫郡长安小区业主向华商报大风新闻记者反映,该小区发生电梯事故,疑似有人坠亡。小区业主提供的现场照片显示,有救护车来到现...
2025-12-28 0
中国田协业余女子马拉松榜单第35名的成绩是3小时30分33秒,而今年跑进2小时31分的张水华却不在名单里这份榜单统计的是非注册运动员也就是业余跑者的全...
2025-12-28 0
备受网友关注的"原配告第三者重婚案"12月26日在陕西省安康市中级人民法院开庭。原配“场子姐”称,在丈夫车内发现闺蜜的流产资料,劝其退出家庭反遭拉黑,...
2025-12-28 0
针对美国白宫贸易和制造业高级顾问纳瓦罗近日在墨西哥媒体发表文章恶意攻击中国出口商品、煽动对华经贸对立的言论,中国驻墨西哥使馆发言人12月26日表示强烈...
2025-12-28 0
发表评论