这个年纪的女人,身上藏着岁月的温柔和锋芒。经历了四季的变换,早已经不是谁的附庸,也不再甘做自己的影子。她们多半早已学会,在琐碎时日中捡拾月光,把日子拣...
2025-11-05 0
11月3日,在京东拍卖上,宁夏吴忠市青铜峡市迎来了一宗重量级的资产拍卖,宁夏可可美生物工程有限公司等三家公司房屋、机器设备等破产财产被拍卖。此次拍卖涉及到三家破产公司分别是宁夏可可美生物工程有限公司、宁夏玉蜜淀粉有限公司、宁夏沃野肥业有限公司。虽然是三家公司破产,但是此次拍卖的资产实际上就是一个工厂整体拍卖而已。该工厂位于青铜峡市小大公路六公里处。
这个工厂规模不小,房屋建筑总面积有100,356.58㎡,其中60,915.58㎡已办理《房屋所有权证》,包括精制车间、动力车间、办公楼、发酵车间、板框车间、质检中心,化水车间等;未办证的房屋建筑物总面积39,441.00㎡,包括糖化车间、库房、泵房、配电室等。除了建筑物拍卖外,还包括厂区众多机器设备等,有四效蒸发器、锅炉、板框压滤机等,此外拍卖还有原材料、电子设备、管道沟槽。同时这个工厂还有在建工程,在建工程-土建工程总建筑面积 21,053.93 平方米,其中11353.33平方米已办理《房屋所有权证》,主要包括8万吨味精车间等。
值得注意的是,此次拍卖,只拍卖厂房建筑物以及各种动产机器设备等,并不包括工厂占用的土地使用权。拍卖成交后,竞得者需要对工厂进行拆除的,并完成拆除后建筑垃圾的清理运输工作,确保拆除施工结束后剩余净地。
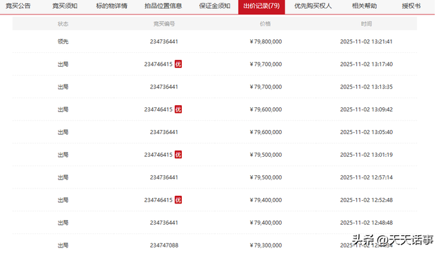
虽然拍卖包包括土地使用权,而且还需要拆除,但是此次拍卖的起拍价可不低,7460万元起。拍卖开始后,吸引了5个人报名竞拍,其中包括一个享有优先购买权的竞拍者,该竞拍者是一家容器制造公司,不知道是不是这个工厂原来有关容器的供应商。经过79次加价竞拍,以7980万元成交,成交价比起拍价高出了520万元。而从拍卖结果来看,竞得者并不是享有优先购买权的人竞得,而是甘肃万牛再生资源回收有限公司,一家废品回收公司。
值得注意的是,此次拍卖,是这个工厂第五次拍卖,前面四次拍卖,都是因为没有人报名竞拍而流拍了,前面四次拍卖的起拍价分别是1.6567亿元、1.3254亿元、1.0603亿元和9000万元。
这样看来,第五次拍卖,虽然竞拍比较激烈,但是成交价并没有高过前面四次拍卖的流拍价,比第一次拍卖的流拍价还低了八千多万元。所以,对于这样一个要拆除的工厂拍卖,大家觉得这个成交价如何呢?
相关文章
这个年纪的女人,身上藏着岁月的温柔和锋芒。经历了四季的变换,早已经不是谁的附庸,也不再甘做自己的影子。她们多半早已学会,在琐碎时日中捡拾月光,把日子拣...
2025-11-05 0
连诗雅父亲做生意赚了不少,家里不缺吃穿,她从小就进国际学校念书,接受正经教育。父母忙事业,没太多时间管她,她11岁就开始接触化妆和喝酒这些事,思想早熟...
2025-11-05 0
11月4日外交部发言人毛宁主持例行记者会记者:据报道,北京时间11月3日凌晨,阿富汗北部巴尔赫省发生6.3级地震,已造成至少24人死亡、超640人受伤...
2025-11-05 1
11月3日,在京东拍卖上,宁夏吴忠市青铜峡市迎来了一宗重量级的资产拍卖,宁夏可可美生物工程有限公司等三家公司房屋、机器设备等破产财产被拍卖。此次拍卖涉...
2025-11-05 1
在阅读此文前,为了方便您进行讨论和分享,麻烦您点击一下“关注”,可以给您带来不一样的参与感,感谢您的支持。声明:本文内容均是根据权威资料,结合个人观点...
2025-11-05 0
在阅读此文之前,辛苦您点击一下“关注”,既方便您进行讨论和分享,又能给您带来不一样的参与感,感谢您的支持!编辑丨猪猪bang从一个小城姑娘成为全球顶级...
2025-11-05 1
冬天一到,很多跑友就犯怵:0℃以下的寒风刮在脸上像刀子,跑两步手脚冻得发麻,跑久了还怕着凉感冒。其实只要做好保暖,低温天跑步不仅能增强抵抗力,还能享受...
2025-11-05 1
我认为健康是1,金钱是后面的0。没有前面的1,后面再多的0也都失去了意义。总而言之,健康是目的,金钱是手段之一。我们追求金钱,最终是为了让自己和所爱之...
2025-11-05 1
发表评论